当前位置: 首页 > 产品大全 > 碳硫分析仪电弧炉构造原理与应用

碳硫分析仪电弧炉构造原理与应用

碳硫分析仪电弧炉构造原理与应用

碳硫分析仪是一种用于测定金属、矿石等材料中碳和硫元素含量的精密分析仪器,其中电弧炉作为其核心部件,承担着样品高温燃烧和气体释放的关键功能。本文将详细介绍碳硫分析仪电弧炉的构造组成、工作原理及其在分析过程中的作用。

一、电弧炉的基本构造

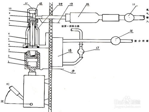
碳硫分析仪的电弧炉通常由以下几个主要部分组成:

1. 炉体:采用耐高温材料(如石英或陶瓷)制成,能够承受电弧产生的高温(通常可达1500°C以上)。

2. 电极系统:包括一对或多对电极,通过高压放电产生电弧,提供样品燃烧所需的高温能量。

3. 样品舟与进样装置:用于承载待测样品,并通过自动或手动方式将样品送入炉内。

4. 气体通路与密封系统:确保燃烧过程中氧气等助燃气体的稳定供应,并防止气体泄漏。

5. 冷却系统:通过水冷或风冷方式对炉体进行降温,保证设备长时间稳定运行。

二、电弧炉的工作原理

电弧炉通过电极间的高压放电产生高温电弧,使样品在富氧环境中迅速燃烧。样品中的碳和硫元素分别转化为二氧化碳(CO₂)和二氧化硫(SO₂)气体,随后通过载气(如氧气或氮气)携带至检测系统进行定量分析。整个过程通常在数十秒内完成,具有快速、高效的特点。

三、电弧炉在碳硫分析中的作用

1. 高温激发:电弧炉提供的高温环境确保样品完全分解,碳和硫充分转化为气态化合物。

2. 气体生成稳定性:通过精确控制电弧能量和气体流量,保证CO₂和SO₂的生成率稳定,提高分析精度。

3. 自动化集成:现代碳硫分析仪的电弧炉常与自动进样器和检测器联动,实现全自动化分析,减少人为误差。

四、应用领域与发展趋势

碳硫分析仪电弧炉广泛应用于钢铁、冶金、地质、环保等行业,用于质量控制与材料研究。随着技术的发展,电弧炉正朝着更高温度控制精度、更低的检测限和智能化操作方向发展,以满足日益严格的分析需求。

电弧炉作为碳硫分析仪的核心部件,其构造设计与工作性能直接影响到分析结果的准确性与效率。通过优化材料、改进电极设计和集成智能控制系统,碳硫分析仪在元素检测领域将继续发挥重要作用。

如若转载,请注明出处:http://www.njylyq.com/product/621.html

更新时间:2026-01-29 21:44:01

产品列表

PRODUCT